来源于网络公众号
2026年2月,有飞机反映供油滤差压指示器反复弹出,检查油滤干净,复位指示器后再次试车,指示器再次弹出。针对该问题特借用网络公众号内容做一汇总说明。
压差指示器的未弹出和弹出状态对比。


供油滤差压指示器设计目的是,供油滤脏了并且性能下降,弹出指示会提前弹出,表示油滤即将被旁通。该油滤并不提供任何机驾驶舱效应指示。


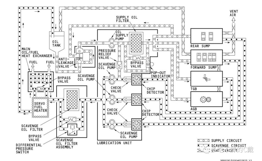
如下油路图所示,供油泵提供滑油经供油滤的过滤,然后送到需要润滑的各个部件。如果供油泵发生磨损或者滑油发生变质,碎屑或者变质的滑油堵塞了供油滤,下游部件可能因为得不到润滑而直接导致空停。因此厂家设计了旁通活门,当供油滤上下游压力差达到一定值时,活门打开,滑油不经过油滤,而直接流向下游保证发动机基本运转。


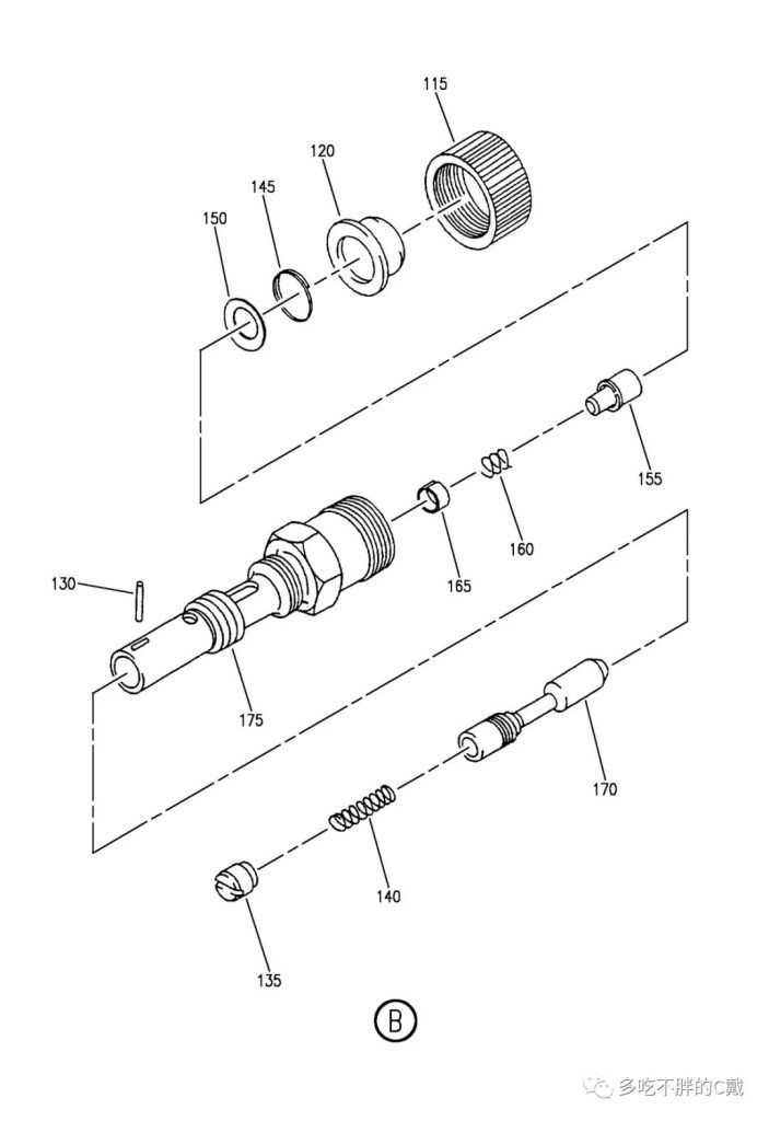
IPC的内部部件组成图如下图所示,其中165为双金属片构造。

全貌如下附图:



拆下发现存在异常的图片如下所示。

对指示器做了进一步的拆解。最大难点其实就是上图130项的定位销,需用细钉加锤子一点一点冲出来。,
完全分解后各个部件编号如下。

| 编号 | 名称 | 功能说明 |
|---|---|---|
| 1 | 指示器壳体 | 用来容纳全部零件,并作为整体零件安装到发动机润滑组件上。被装入到润滑组件上后,壳体侧面的两排孔分别连通着供油滤的上下游,两个空间之间用封圈隔离。 |
| 2 | 弹出指示 | 红色的小磁铁,用磁性与4号旁通阀阀芯相互吸引保持在不弹出的位置。 |
| 3 | 弹出弹簧 | 作用是当4号旁通阀阀芯发生远离2号弹出指示时,趁着磁性吸力减小将2号弹出指示向外弹出。 |
| 4 | 旁通阀阀芯 | 阀芯为哑铃形状,哑铃两端粗细不同,右边带花纹的端截面积大于左边,因此在哑铃细脖子位置处施加一个较大的滑油压强,将因为两头的面积不同导致一个压力差,这个压力差的方向向右推动阀芯。 |
| 5 | 旁通弹簧 | 用于顶住4号旁通阀芯保持其在非旁通位,即4号与2号保持接触吸合状态。 |
| 6 | 旁通压力调节堵头 | 用于调节5号弹簧的压缩量,等于调节旁通阀门阀芯打开的标定压力值。 |
| 7 | 双金属感温锁定片 | 用于锁定2号弹出指示,防止其误弹出。正常情况下,双金属片的实际位置应该更往里卷,卡住弹出指示器的凸台,不让指示器随意弹出。当滑油供油滤堵塞,油泵下游压力变大,内部温度升高后,双金属片张开,弹出指示被压力顶出。 |
| 8 | 指示器盖 | 用于抵住2号指示器的凸台和3号弹簧,防止整个2号指示器弹出脱离壳体。 |
| 9 | 盖子固定卡簧 | 用于将8号盖子固定在壳体上。 |
| 10 | 指示观察窗 | 用于弹出指示的保护防止其被脏污污染。 |

拆下的两个指示器内的双金属片,一个出现了断裂,如下图,双金属片残骸被磁性吸附在弹出指示上。

另一个有变形,经过仔细检查,为塑型永久变形,出现折痕,即将发生断裂,见下图。

针对双金属片对指示器的锁定功用,如下图所示:可以看到按入指示器的瞬间双金属片与指示器凸台硬接触后被强行压到弹开,然后指示器复位。双金属片锁定住弹出指示,只要不弹开,将始终处于压紧受力的状态。使热风枪大概150度加热双金属片,则可以看到锁定片有明显且快速的外移解锁动作。





弹出指示器的整个作动原理基本如下图,红色剪头指示滑油从长条孔进入壳体,当压力上升时滑油压力如绿色剪头指示方向作用于旁通阀阀芯的两个肩膀凸台。凸台的面积差导致阀门阀芯顶开弹簧向左移动将滑油旁通过滑油供油滤,此时阀芯与磁性的红色指示器分离,失去磁性吸引的指示器弹出。

根据对这个指示器拆解后的整体结构分析以及功能推断,双金属片为一道温度保险,用于两种情况的防误弹出:
1.发动机刚启动时低温的滑油粘性较大,通过油滤的通过性差,另外由于刚开始启动,此时滑油压力还没有显示,即使出现一个很高的压力,在驾驶舱也不会有显示。随着发动机启动正常,滑油温度升高,这个压力波峰也就恢复到了正常。
2.当快速推油门时,滑油泵由发动机n2轴通过AGB带动,如果猛推油门,滑油泵会出现一个急加速,瞬间的滑油供应增加可能会导致压力出现时间很短波峰,压力传感器不一定能捕捉信号,此时虽然压力快速上升,一旦进入一个稳态,波峰也会快速恢复正常。
双金属片的存在就是为了锁定弹出指示器防止以上两种情况的出现,如下图。

综合以上拆解分析,导致弹出的主要原因:
一类是真实的滑油污染,或者发动机启动时滑油粘度大导致的压力波峰使没有温度保护的弹出指示器弹出。
一类是虚假的,弹出指示器使用时间过长,长期发动机压力脉动导致内部的弹簧出现疲劳,弹性下降导致旁通标定压力减小,提前旁通。